Top.Mail.Ru
Крепление кабелей среднего и высокого напряжения
Русский язык
RU EN

КРЕПЛЕНИЕ КАБЕЛЕЙ СРЕДНЕГО И ВЫСОКОГО НАПРЯЖЕНИЯ

Передача электроэнергии. Кабели

 
MVC 1-35 кВ среднее напряжение
     
 
 
HVC свыше 110 кВ высокое напряжение
     
 
 

ПРИМЕНЕНИЕ HVC НА ПРИМЕРЕ ТЭС

 
Кабельный полуэтаж
Кабельный полуэтаж
 
 
 
Непроходная эстакада
Проходная эстакада

Внутри зданий обычно нет требований к коррозионной стойкости, исключение – кабельные полуэтажи. В уличных и подземных сооружениях такие требования обязательны: применяют горячеоцинкованные изделия или конструкции из FRP.
 

Основные недостатки типовых решений 

 
     
  • Высокая стоимость полимерных хомутов
 
 
     
  • Высокие габариты конструкций в местах поворотов и подъемах трасс
  • Длительное время монтажа 
 
 
     
  • Шаг опор не более 1 м 
 
 

СРАВНЕНИЕ ТИПОВОГО РЕШЕНИЯ С РЕШЕНИЕМ UTECH

 
     
Типовое решение
  • Быстрая разработка проекта
  • Много нестыковок
  • Нет полных деталировок по КНС
  • Нет индивидуального расчета по нагрузкам: применяются типовые решения на широкий диапазон, из-за чего растет стоимость
  • Стандартный шаг опорных конструкций – 1 м
  • Монтаж полимерного хомута занимает в 2 раза больше времени, чем хомут-ленты UTECH
  • Сроки сооружения увеличиваются
 
 
     
Решение UTECH
  • Детальная проработка проекта с учетом индивидуальных особенностей, включая фактическую заполняемость конструкций кабелем
  • Наличие ТЭО помогает принимать обоснованные инженерные и финансовые решения
  • Техническая и сборочная документация высокого качества
  • Широкий выбор несущих элементов позволяет подбирать решения под ваши нагрузки без удорожания проекта
  • Шаг опор – до 3 м, в зависимости от требований площадки и расчетных нагрузок
  • Крепление кабелей хомут-лентами с покрытием, в соответствии с требованиями по короткому замыканию
  • Предварительная сборка узлов на стороне UTECH снижает риски и экономит время на монтаже
  • Средняя стоимость проекта на 15% ниже по сравнению с типовым решением
 
 

Решения UTECH

 
     
Крепление на лестничном лотке
Состав элементов:

  1. Хомут-лента 12,7 мм (25м/кат), с покрытием
  2. Скоба 12,7 мм, нерж. AISI316, упак. 100шт.
  3. Консоль СА-50 HDG
  4. Консоль СА-40 HDG
  5. Лестница LOE55 HDG
     
     
         
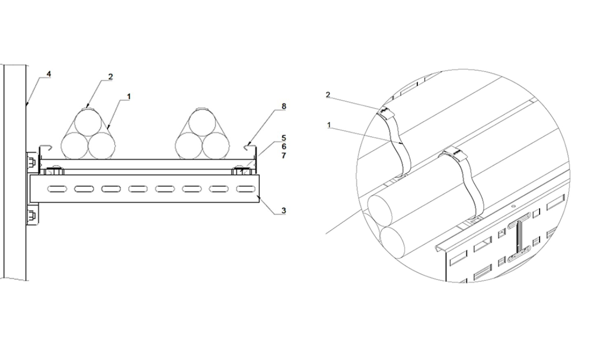
    Крепление к консоли
    Состав элементов:

    1. Хомут-лента с покрытием
    2. Скоба, нерж. AISI316, упак. 100шт.
    3. Консоль МТ-BR-40
    4. Консоль СА-50 HDG
    5. Консоль СА-40 HDG
       
       

      СРАВНЕНИЕ РЕШЕНИЙ НА ЛЕСТНИЧНОМ ЛОТКЕ И НА КОНСОЛИ

       
           
      • Шаг опор – до 6 м
      • Удобное крепление кабеля на поворотах и на опусках
      • Высокая защита кабелей от механических повреждений
      • Простая организация отводов кабеля. Лестница выполняет роль несущей конструкции
      • Снижение стоимости узла за счет крепления кабеля хомут-лентами с учетом нагрузок от токов короткого замыкания

      До 15% дешевле

         
         
             
        • Шаг опор – до 1 м
        • Сложность организации подъемов и поворотов трассы; требуются дополнительные промежуточные опоры
        • Типовое решение – крепление кабеля на полимерные хомуты; приближенное к типовому – крепление на хомут-ленты
           
           
          Связаться с нами
          Заполните форму, и мы перезвоним вам как можно скорее
          или позвоните нам по номеру
          Поле введено некорректно
          Номер телефона указан неверно
          Поле введено некорректно
          Поле введено некорректно
          Поле введено некорректно
          Введите символы с картинки
          Обязательно для заполнения